• Voor 15.00u besteld. Vandaag verzonden!
  • Gratis verzending vanaf €75,-
  • Meer dan 5000 producten op voorraad

Honda Super Cub C50c

Honda Super Cub C50c

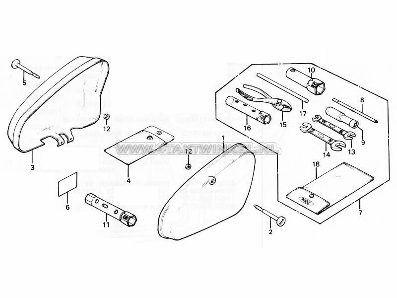
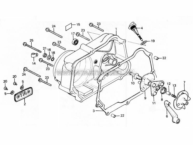
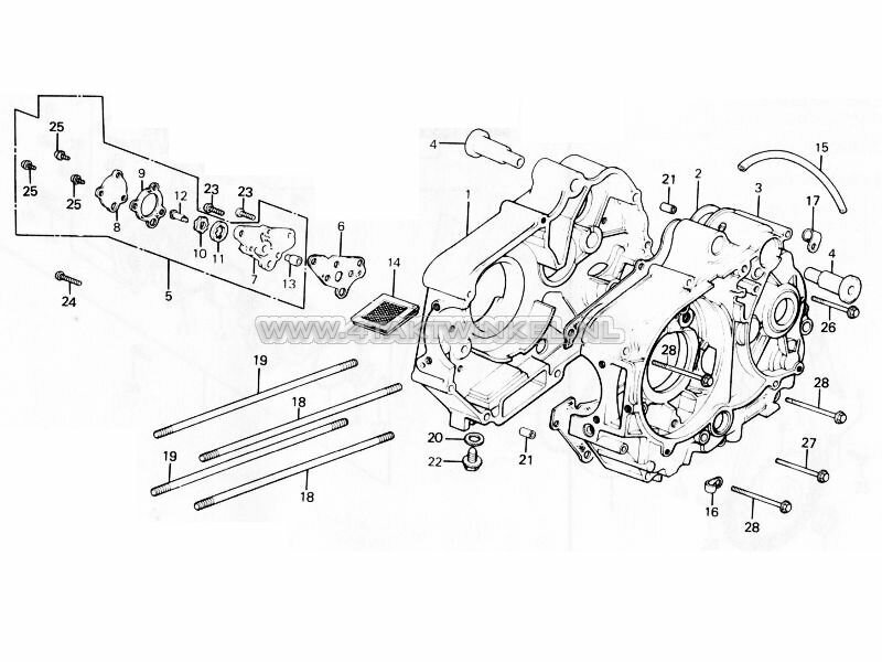
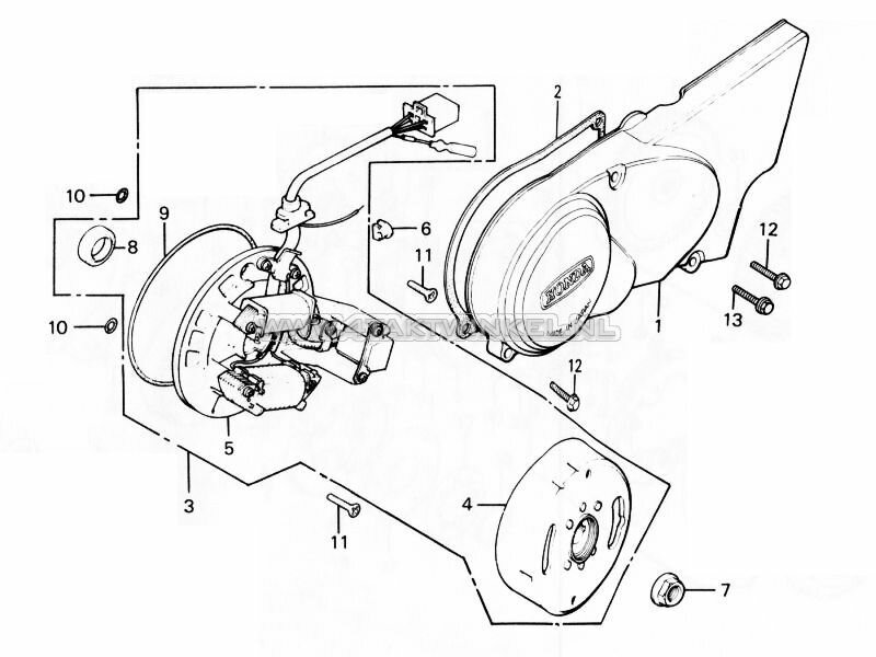
Hier zoek je eenvoudig naar onderdelen via de tekeningen van de Honda C50c.

De C50c is onder andere te herkennen aan de tank die verzonken ligt in het frame en een motorblok welke is voorzien van elektronische ontsteking en 3 versnellingen met semi-automatische koppeling. De C50c is nooit officieel in Nederland geleverd, ze zijn meestal geimporteerd uit Japan of Engeland.

Klik op de tekening voor de lijst met de bijbehorende onderdelen.
 


De Honda C50c

De Honda C50c kwam begin jaren 80 op de markt.

Het is een van de vele uitvoeringen die Honda heeft gebouwd in deze model reeks. De C50 of ook wel Cub of Supercub, is het meest gebouwde voertuig ter wereld! De modellijn loopt nog, dus het aantal loopt nog op!
Ze zijn (net zoals bijvoorbeeld de Volkswagen golf) in zeer veel verschillende uitvoeringen gemaakt. Denk daarbij aan land specifieke eisen die doorgevoerd zijn (zoals in Nedeland de trappers, het witte achterspatbord, enz...) maar ook aan motorfiets uitvoeringen: De 70cc C70 en de 90cc C90 (ook nog 110cc en 125cc op latere nazaten zoals de Honda wave en Innova en cub 125)

Je kunt de Cub type's grofweg verdelen in:
  • C50 OT (oud type) tank met boutjes op het frame, contactpunten ontsteking, 6 volt elektra
  • C50 K1, K2, K3: tank verzonken in het frame, contactpunten ontsteking, 6 volt elektra
  • C50 NT (nieuw type) tank verzonken in het frame, CDI ontsteking, 12 volt elektra
Maar ook deze verdeling is weer verder op te splitsen in verschillende type's
Dit om maar aan te geven dat je pas kunt stellen of de C die je bezit wel of niet origineel is, als je precies weet welk type Cub je bezit.
 

Kenmerken Honda C50c:

Deze kenmerken gelden voor de in Japan en Engeland geleverde Honda C50c:
  • Framenummer begint met C50
  • Framenummer heeft na C50 altijd nog 7 cijfers, dus: C50-1234567
  • De tank ligt verzonken in het frame
  • Engelse uitvoering heeft doorgaans een duo zadel
  • Japanse uitvoering heeft doorgaans een solo zadel
  • Geleverd in bijna alle kleuren van de regenboog
  • CDI ontsteking (elektronische ontsteking)
  • Engeland: 12 volt systeem
  • Japan: Eerst 6v volt (maar wel CDI), later 12 volt systeem

Heb je een C50c

Gebruik dan de bovenstaande tekeningen om de juiste onderdelen te vinden en te bestellen om jouw Honda C50c te onderhouden, repareren of te restaureren!

Heb je nog geen C50?

Kijk dan eens tussen ons aanbod gebruikte bromfiesen of import uit Japan.

We gebruiken cookies om uw browse-ervaring te verbeteren en ons websiteverkeer te analyseren. Door op ‘Accepteren’ te klikken, stemt u in met ons gebruik van cookies.